
文章来源:山东省民政局网站,本信息图文及视频版权归原作者所有,如有侵权请联系我们
近日,山东省民政厅网站发布2025年度山东省行政区划信息统计公告。
截至2025年12月31日,山东省共有设区的市16个;县级政区136个,其中市辖区58个、县级市26个、县52个;乡镇级政区1826个,其中街道699个、镇1076个、乡51个。
行政区划代码,这个概念听起来离我们的生活有点远,但其实大家的身份证号码的前六位就是行政区划代码。
它是依照法定权限和程序,根据编码规则确定、公布的行政区划建制在全国范围内唯一的数字代码,通过一串6位或9位数字的行政区划代码,反映着行政区划建制的行政层级、隶属关系、建制类型等关键信息。省级民政部门每半年发布一次本地区乡级代码信息。
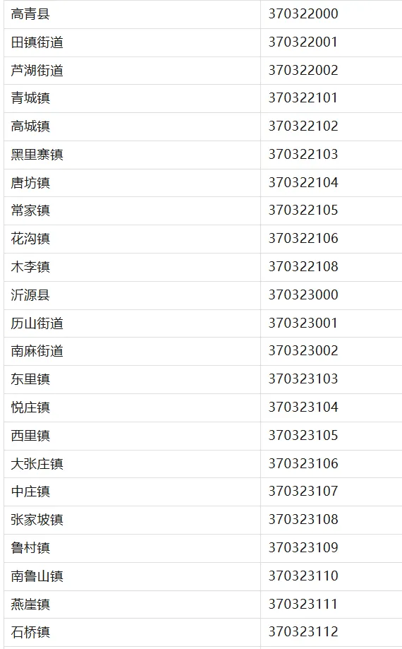
一个9位数的乡级代码信息如何读懂?
第一、二位表示省(自治区、直辖市、特别行政区)。
第三、四位表示市(地区、自治州、盟及国家直辖市所属市辖区和县的汇总码)。
第五、六位表示县(市辖区、县级市、旗)。
第七至九位表示乡、镇(街道办事处)。
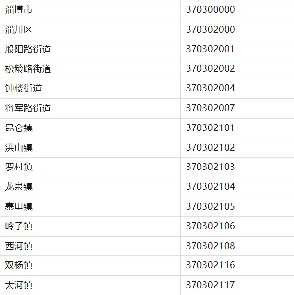
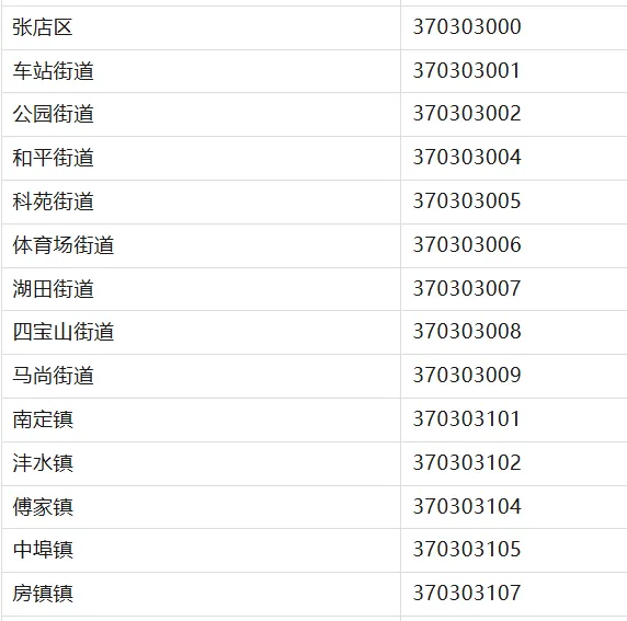
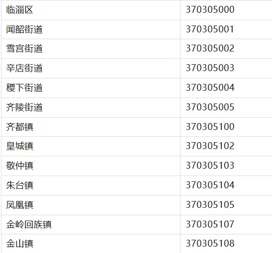
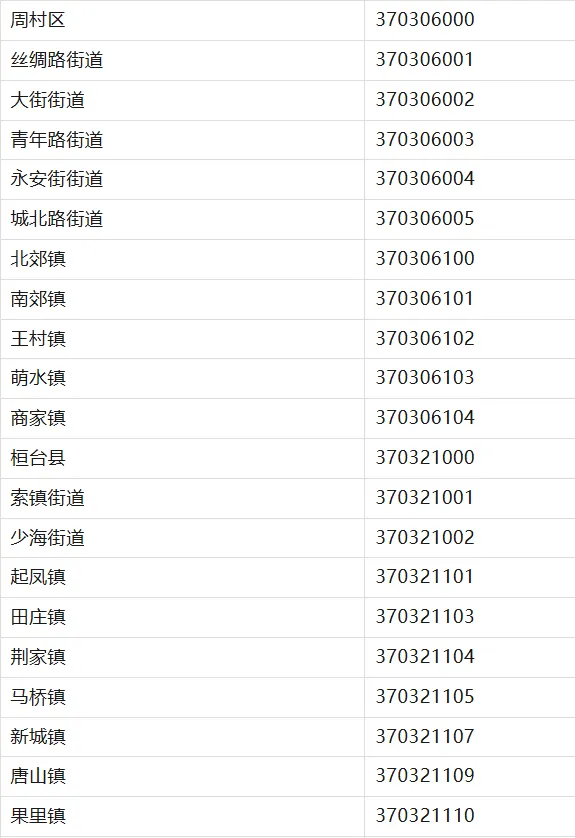
一起来看看淄博最新的行政区划代码吧!






Recommend
热点内容推荐
Recommend
热点视频推荐

